Dispositivo para la toma de imágenes de la copa de los árboles.
Sector Industrial:
- Agroalimentación
Investigador/es:
- Álvaro Alonso Fernández
- Mª del Pilar Castro Díez
Departamento/s:
- Ciencias de la Vida
RESULTADOS DE LA INVESTIGACIÓN
Resumen:
Investigadores de la Universidad de Alcalá presentan un dispositivo novedoso que permite tomar muestras no destructivas de las copas de los árboles desde el suelo y poder cuantificar daños causados por agentes bióticos (plagas) y abióticos (tormentas, granizo, lluvias torrenciales) o controlar la producción de frutos, sin necesidad de medios artificilaes de elevación del operario, reduciendo el riesgo para el observador y para la salud del propio árbol.
El grupo de investigación busca alcanzar acuerdos comerciales o de licencia con empresas del sector de la silvicultura (madera, corcho,...), agricultura, o aseguradoras agrarias.
Descripción:
La observación de las copas de los árboles es necesaria para cuantificar la producción de órganos (hojas, flores, frutos, semillas, yemas, ramas, etc.), que resulta relevante, tanto en estudios agroforestales y de silvicultura, como en estudios de ciencia básica. También se aplican técnicas de observación directa para la cuantificación de los daños ocasionados a nivel de individuo por plagas o agentes atmosféricos adversos.
Esto tiene especial importancia para la valoración por parte de las aseguradoras de los daños ocasionados en la agricultura o en la aplicación de tratamientos fitosanitarios.
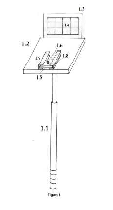
El dispositivo consta de una pértiga extensible a la que se ancla una plataforma horizontal con un marco rectangular transversal en un extremo, y una placa metálica móvil con un dispositivo de toma de imágenes en el otro. El dispositivo se maneja desde el suelo, y permite ajustar el ángulo de la plataforma por medio de un codo situado en su parte inferior y la distancia del dispositivo al marco de referencia por medio de una placa metálica móvil.
El dispositivo permite por tanto elevar una cámara de fotos o de video a la altura de la copa para realizar las observaciones necesarias. De esta manera se asegura una perfecta toma de las imágenes sin necesidad de destruir parte de la copa ni de subir a la copa del árbol.
El dispositivo asegura una adecuada estabilidad para la toma de las imágenes o videos y permite una regulación de la altura de observación, así como del ángulo de la cámara o vídeo para adaptarse a un amplio margen de alturas superiores a dos metros.
Aspectos Innovadores:
Se vienen empleando técnicas de observación directa o recolección de muestras (normalmente fragmentos de las ramas de la planta) con tijeras de podar o podones incorporados a pértigas.
La observación directa de muestras en altura (zona media o alta de las copas de los árboles) requiere de medios artificiales de elevación (escaleras, plataformas, etc.), con el consiguiente riesgo para el observador.
Por otra parte, la corta de ramas supone una destrucción parcial del árbol. De esta forma, ambos grupos de técnicas limitan las posibilidades de replicación.
-Este nuevo método, permite realizar las observaciones que se consideren necesarias al no resultar invasivo.
-Se asegura con él, una perfecta toma de las imágenes sin necesidad de destruir parte de la copa ni de subir a la copa del árbol.
-El dispositivo asegura una adecuada estabilidad para la toma de las imágenes o videos y permite una regulación de la altura de observación, así como del ángulo de la cámara o vídeo.
Palabras Clave:
- Árboles
- Copa de los árboles
- Ciencias Forestales
- Bosque
- Fenología
- Plagas
- Silvicultura
- Agricultura
- Agente biótico
- Agentes abióticos
- Frutos
- Estudios agroforestales
- Tratamientos fitosanitarios
Disciplinas Científicas:
- Agricultura y Recursos Marinos
- Medioambiente y prevención de riesgos
Grado Desarrollo del resultado de investigación
- Desarrollada, lista para demostración
Fuente de financiación de la investigación
- Proyecto Nacional
ASPECTOS COMERCIALES
Ventajas competitivas:
El dispositivo permite diversas aplicaciones en los ámbitos de la silvicultura, la agricultura y la investigación básica sobre aspectos relacionados con la ecofisiología de los árboles.
La toma de imágenes en detalle de la copa de árboles permite cuantificar la producción de distintos órganos (número de flores, frutos, hojas, ramas nuevas, etc.), evaluar su estado fenológico, evaluar la presencia de parásitos, la incidencia de daños por heladas o granizo, o cualquier otro fenómeno biótico o abiótico que pueda afectar al árbol y por tanto a su productividad.
El dispositivo es de especial utilidad para ejemplares cuya altura no permite la observación directa por una persona desde el suelo. Debido a que la imagen se toma referenciada a una superficie conocida (área del marco rectangular de madera) se pueden comparar imágenes tomadas de diferentes ejemplares, y de este modo comparar la eficiencia de diferentes tratamientos silvícolas o agrícolas (tratamientos fitosanitarios, abonados, intensidades de riego, etc.) sobre el estado de salud y la productividad de los diferentes ejemplares.
Además, también permitiría una evaluación más completa de los árboles en las evaluaciones de daños a la agricultura por parte de los agentes de las aseguradoras agrarias.
Estado de la propiedad industrial e intelectual
- Patente concedida
Comentarios:
La patente ha sido concedida por la Oficina Española de Patentes y Marcas con referencia de publicación 2530887 y fecha de la concesión 16/09/2015
No se ha encontrado nada igual en la bibliografía científica consultada.
Tipo Colaboración
- Acuerdo comercial con asistencia técnica
- Acuerdo de licencia
Comentarios:
El grupo de investigación busca alcanzar acuerdos comerciales o acuerdos de licencia, con empresas de silvicultura, agricultura y aseguradoras agrarias, interesadas en la observación y control de ejemplares cuya altura no permite la observación directa desde el suelo.
Información Adicional:








